PUNTOS FIJOS DE UN TERMOMETRO

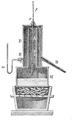
ESQUEMAS

FUNDAMENTOS

FOTOGRAFÍAS

BIOGRAFÍA